欢迎您随时来电咨询
关于屹上
为您提供量身定制经济、实用的脚轮方案

欢迎您随时来电咨询
来源: 点击次数:次
AGV打滑?
几乎每个AGV企业都曾遇到过AGV打滑。屹上,自专注AGV脚轮领域以来,至少接洽了2000家AGV企业,其中大部分都曾就此问题和我公司工程师进行了多次沟通,今天屹上就来和你聊聊,关于AGV打滑的那些坑。
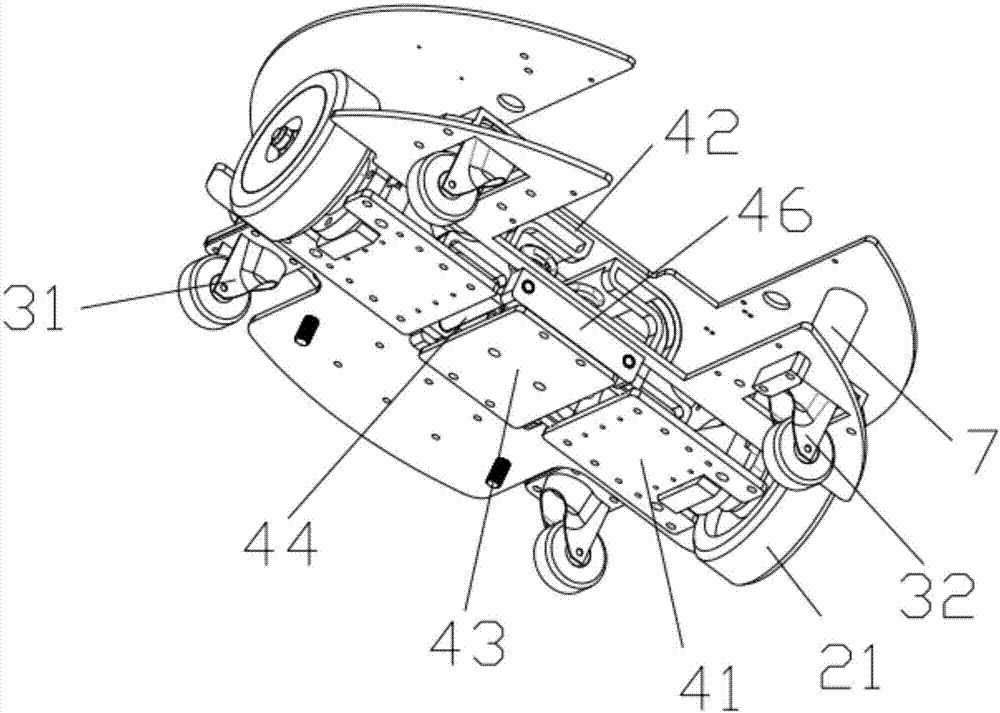
常规AGV底盘为六轮结构,2个驱动+4个从动轮。
打滑常见问题有3类:
首先要看底盘结构悬架是否有问题,一旦结构有问题,在不平整的地面上,主动轮不在最佳受力点上,产生悬空,就容易产生打滑。

↑ AGV底盘示意图
由于万向轮和驱动轮都是差速转向的,在平坦干燥的地面上使用时,当车子在负重情况下,不省力的万向轮会加大驱动轮的负担,让AGV小车打滑。
产品采用双轮差速结构,专属定制双向平面轴承和角接触轴承结构,抗压力抗扭力,让AGV运行更稳定。
经实际测试500kg的负重下,仅需10kg的推动力即可有效推动AGV运转,大大降低了AGV电机的损耗,延长机器寿命,目前该项设计已在申请国家专利。

在光滑地面有水的情况下,就需要看驱动轮的材质。普通的聚氨酯轮,在光滑有水的地面是寸步难行,此时可以选择橡胶的驱动轮;如果对耐磨耐用性有更高要求,推荐选择屹上免脱模剂生产的聚氨酯驱动轮,此工艺来自中铁隧道掘进盾构机轮子一样的工艺。

采用该工艺的一款聚氨酯驱动轮,曾用在爬墙机器人上在玻璃面上有水的情况下测试,该款轮子的摩擦系数达到0.65。
以上这些误区,你都避开了吗?你的AGV还在打滑吗?欢迎咨询专业工程师许工18916493910(手机同微信号)给你提供更专业的AGV防滑解决方案。




免费电话咨询
![]()
021-59993780